elektrische Außenspiegel

  • Hallo,

    gibt es auf dem Sicherungskasten eine Beschriftung welche Sicherung wo ist? Foto davon wäre glaube ganz gut.

    Die Sicherung soll wohl die selbe sein,

    Welche Nummer ist denn das?

    ich habe mal ein paar passende Seiten vom 1988er Service Manual Nr. 81-370-8006 fotografiert die mit den Power Mirrors zu tun haben.

    Das ist aus Abschnitt 8T, scheint nicht sonderlich spannend zu sein.

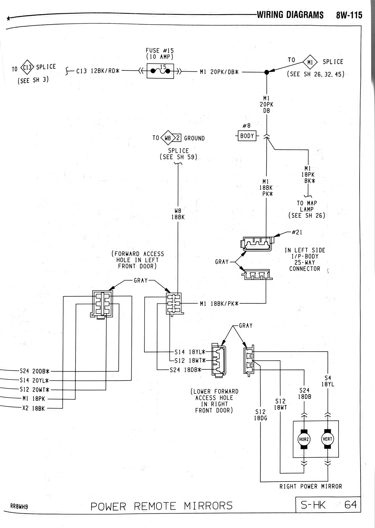
    Das ist der Schaltplan der Power Mirrors.

    Das hier sind ein paar technischen Übersichten des Sicherungskastens aus Kapitel 8W.

    Das ist der etwas präzisere Plan des Sicherungskastens.

    Laut 8W-114 &115 versorgt Sicherung 15 den Krempel mit Strom. Zusätzlich ist das ganze aber wohl noch über einen Circuit Breaker der in der Nummer 8 im Sicherungsblock steckt abgesichert. Dann müsste aber eigentlich wesentlich mehr nicht funktionieren als nur die Spiegel. Vielleicht hilft sonst auch mal ein Blick auf die Fusible Links im Motorraum, vielleicht ist eine von denen durchgebrannt.

    Die elektrischen Spiegel waren damals aber wohl vielleicht auch Sonderausstattung, vielleicht sind die Angaben in dem Manual nicht 100% vollständig.

    Aber fürs vorankommen sollte es ersmal reichen.

    Ich heiße nicht Wolfram, das ist nur mein Nickname.

    "Bestandener TÜV beim ersten Versuch bringt Unglück"

  • Hi, sorry xxx, lieben Dank für die Infos. Hab zwischenzeitlich auch heraus gefunden, dass es nicht allein an dem 30A Circuit Breaker liegt, sondern sich auch ein Kabelbruch am Kabelbaum, bei dem Übergang der Fahrertür zur Innenraum ergeben hat.